专利数据库
统计分析
产业报告
专利数据监控
产业人才
行业动态
产业政策法规
维权援助
个人中心
详情
文本
图像
标题
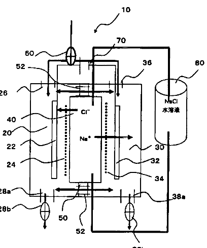
空気清浄装置、製氷装置、内視鏡用洗浄装置、洗髪装置、水耕栽培装置および洗車装置
授权日
1900-01-01
公开(公告)号
JP2011147789A
申请日
2011-01-31
公开(公告)日
2011-08-04
当前申请(专利权)人
荒井 優章
发明人
荒井 優章
简单同族
JP2009178710A | JP2011147789A | JP4713625B2
简单同族成员数量
3
简单同族被引用专利总数
31
诉讼案件数
0
法律状态/事件
驳回
抱歉,您的浏览器不支持PDF预览,请点击链接下载PDF文件