专利数据库
统计分析
产业报告
专利数据监控
产业人才
行业动态
产业政策法规
维权援助
个人中心
详情
文本
图像
标题
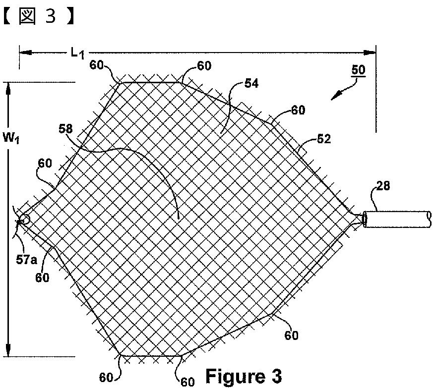
回収デバイス
授权日
2016-07-01
公开(公告)号
JP5961195B2
申请日
2014-01-14
公开(公告)日
2016-08-02
当前申请(专利权)人
ユー.エス. エンドスコピー グループ, インコーポレイテッド
发明人
アレクシス ウスペンスキ | アーロン ボイス | クリストファー ジェイ. ケイ | シンシア アン ラナッロ
简单同族
EP2157915A1 | EP2157915A4 | EP2157915B1 | JP2010528785A | JP2010528785A5 | JP2014121622A | JP2016144657A | JP5460582B2 | JP5961195B2 | JP6194381B2 | US20080306336A1 | US8016838 | WO2008154406A1
简单同族成员数量
13
简单同族被引用专利总数
29
诉讼案件数
0
法律状态/事件
授权
抱歉,您的浏览器不支持PDF预览,请点击链接下载PDF文件