专利数据库
统计分析
产业报告
专利数据监控
产业人才
行业动态
产业政策法规
维权援助
个人中心
详情
文本
图像
标题
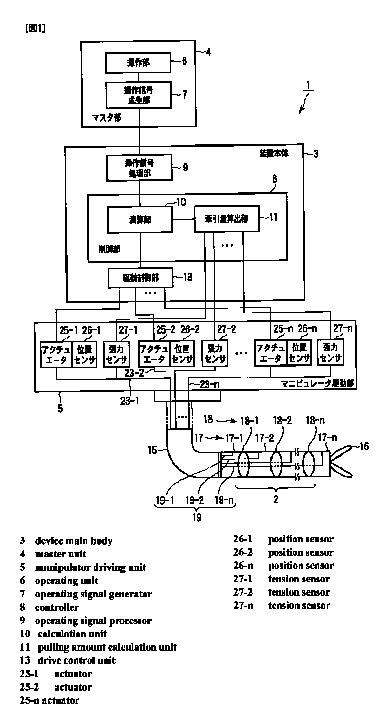
多関節マニピュレータ装置及びそれを有する内視鏡システム
授权日
1900-01-01
公开(公告)号
JPWO2011058893A1
申请日
2010-10-29
公开(公告)日
2013-03-28
当前申请(专利权)人
オリンパスメディカルシステムズ株式会社
发明人
▲高▼橋 和彦 | 中村 俊夫
简单同族
CN102341057A | CN102341057B | EP2382939A1 | EP2382939A4 | EP2382939B1 | JP4781492B2 | JPWO2011058893A1 | US20110257480A1 | US8376934 | WO2011058893A1
简单同族成员数量
10
简单同族被引用专利总数
41
诉讼案件数
0
法律状态/事件
授权 | 权利转移
抱歉,您的浏览器不支持PDF预览,请点击链接下载PDF文件