专利数据库
统计分析
产业报告
专利数据监控
产业人才
行业动态
产业政策法规
维权援助
个人中心
详情
文本
图像
标题
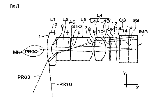
対物レンズおよび内視鏡装置
授权日
1900-01-01
公开(公告)号
JPWO2011070897A1
申请日
2010-11-17
公开(公告)日
2013-04-22
当前申请(专利权)人
オリンパスメディカルシステムズ株式会社
发明人
鵜澤 勉
简单同族
CN102414597A | CN102414597B | EP2402808A1 | EP2402808A4 | JP4819203B2 | JPWO2011070897A1 | US20120007972A1 | US8243129 | WO2011070897A1
简单同族成员数量
9
简单同族被引用专利总数
58
诉讼案件数
0
法律状态/事件
授权 | 权利转移
抱歉,您的浏览器不支持PDF预览,请点击链接下载PDF文件