专利数据库
统计分析
产业报告
专利数据监控
产业人才
行业动态
产业政策法规
维权援助
个人中心
详情
文本
图像
标题
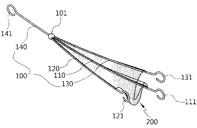
手術用牽引器具
授权日
1900-01-01
公开(公告)号
JP2011036651A
申请日
2010-07-28
公开(公告)日
2011-02-24
当前申请(专利权)人
国立がんセンター
发明人
キム ヨンウ | キム クァンギ | ナム キョンウォン
简单同族
CN101991441A | CN101991441B | EP2283778A2 | EP2283778A3 | EP2283778B1 | JP2011036651A | JP5209676B2 | KR101136304B1 | KR1020110017035A | US20110040152A1 | US8449461
简单同族成员数量
11
简单同族被引用专利总数
40
诉讼案件数
0
法律状态/事件
未缴年费
抱歉,您的浏览器不支持PDF预览,请点击链接下载PDF文件