专利数据库
统计分析
产业报告
专利数据监控
产业人才
行业动态
产业政策法规
维权援助
个人中心
详情
文本
图像
标题
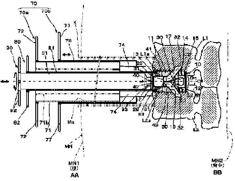
椎体間固定外科手術システム及び椎体間固定外科手術用椎体間スペース保持装置
授权日
1900-01-01
公开(公告)号
JPWO2010092893A1
申请日
2010-02-04
公开(公告)日
2012-08-16
当前申请(专利权)人
学校法人自治医科大学
发明人
佐藤 哲雄 | 五十嵐 孝 | 瀬尾 憲正
简单同族
JP2014193364A | JP5553268B2 | JP5769217B2 | JPWO2010092893A1 | WO2010092893A1
简单同族成员数量
5
简单同族被引用专利总数
42
诉讼案件数
0
法律状态/事件
未缴年费
抱歉,您的浏览器不支持PDF预览,请点击链接下载PDF文件