专利数据库
统计分析
产业报告
专利数据监控
产业人才
行业动态
产业政策法规
维权援助
个人中心
详情
文本
图像
标题
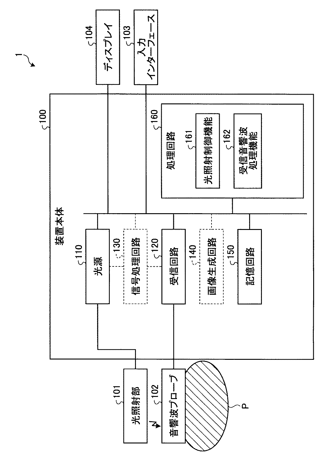
光音響診断装置及び光音響内視鏡
授权日
1900-01-01
公开(公告)号
JP2019216951A
申请日
2018-06-19
公开(公告)日
2019-12-26
当前申请(专利权)人
キヤノンメディカルシステムズ株式会社
发明人
藤田 文理 | 杉山 敦子 | 岡村 陽子 | 丹羽 慎太朗
简单同族
JP2019216951A
简单同族成员数量
1
简单同族被引用专利总数
0
诉讼案件数
0
法律状态/事件
公开
抱歉,您的浏览器不支持PDF预览,请点击链接下载PDF文件