专利数据库
统计分析
产业报告
专利数据监控
产业人才
行业动态
产业政策法规
维权援助
个人中心
详情
文本
图像
标题
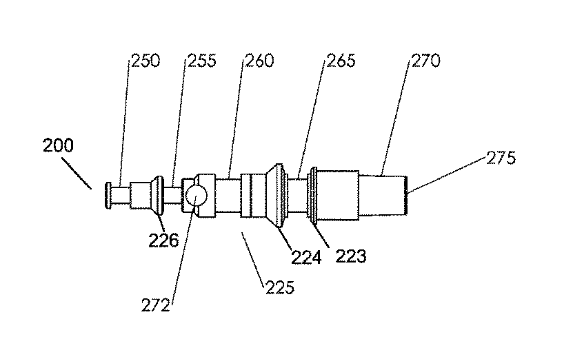
内視鏡用の使い捨て可能な空気/水弁
授权日
1900-01-01
公开(公告)号
JP2018057908A
申请日
2017-12-07
公开(公告)日
2018-04-12
当前申请(专利权)人
メディベーターズ インコーポレイテッド
发明人
グルド ディーナ | アダムス クリストファー スティーヴン | バーン ドン
简单同族
AU2011336623A1 | AU2011336623B2 | AU2016203776A1 | AU2016203776B2 | AU2017228665A1 | AU2017228665B2 | CA2818985A1 | CA2818985C | EP2645920A1 | EP2645920A4 | JP2013545555A | JP2017023796A | JP2018057908A | JP6259041B2 | JP6584483B2 | US20130303844A1 | US20160309987A1 | US9408523 | WO2012075131A1
简单同族成员数量
19
简单同族被引用专利总数
42
诉讼案件数
0
法律状态/事件
授权
抱歉,您的浏览器不支持PDF预览,请点击链接下载PDF文件