专利数据库
统计分析
产业报告
专利数据监控
产业人才
行业动态
产业政策法规
维权援助
个人中心
详情
文本
图像
标题
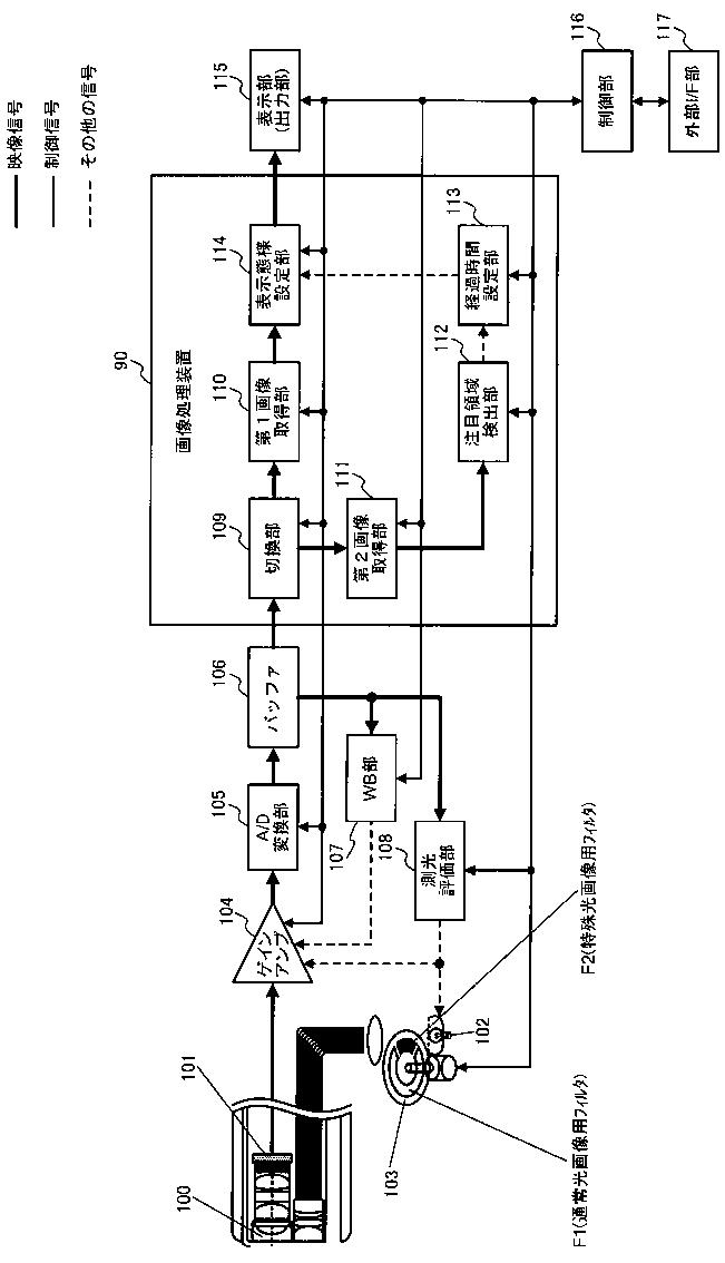
画像処理装置、内視鏡システム、プログラム及び画像処理方法
授权日
1900-01-01
公开(公告)号
JP2011160848A
申请日
2010-02-05
公开(公告)日
2011-08-25
当前申请(专利权)人
オリンパス株式会社
发明人
鶴岡 建夫
简单同族
CN102740757A | CN102740757B | EP2517614A1 | EP2517614A4 | EP2517614B1 | JP2011160848A | JP5220780B2 | US20120274754A1 | WO2011096279A1
简单同族成员数量
9
简单同族被引用专利总数
40
诉讼案件数
0
法律状态/事件
授权 | 权利转移
抱歉,您的浏览器不支持PDF预览,请点击链接下载PDF文件