专利数据库
统计分析
产业报告
专利数据监控
产业人才
行业动态
产业政策法规
维权援助
个人中心
详情
文本
图像
标题
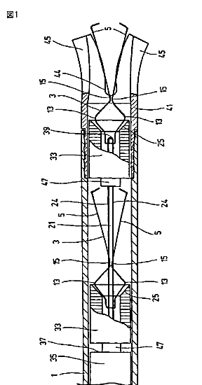
医療用クリップの内視鏡適用のための装置、及び医療用クリップ
授权日
1900-01-01
公开(公告)号
JP2011143262A
申请日
2011-03-17
公开(公告)日
2011-07-28
当前申请(专利权)人
カール シュタール ゲゼルシャフト ミット ベシュレンクテル ハフツング | メドワーク メディカル プロダクツ アンド サービシズ ゲゼルシャフト ミット ベシュレンクテル ハフツング
发明人
フメル,クリスチャン | ベルガー,ゲルハルト | バウアー,ルドルフ
简单同族
AT433715T | DE10334083A1 | DE502004009620D1 | DK1648313T3 | EP1648313A1 | EP1648313B1 | ES2326888T3 | JP2007500020A | JP2011143262A | JP5134102B2 | PL1648313T3 | PT1648313E | US20060271072A1 | US7740639 | WO2005009254A1
简单同族成员数量
15
简单同族被引用专利总数
156
诉讼案件数
0
法律状态/事件
授权
抱歉,您的浏览器不支持PDF预览,请点击链接下载PDF文件