专利数据库
统计分析
产业报告
专利数据监控
产业人才
行业动态
产业政策法规
维权援助
个人中心
详情
文本
图像
标题
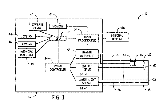
遠隔視覚検査画像捕捉システムおよび方法
授权日
1900-01-01
公开(公告)号
JP2017527137A
申请日
2015-05-12
公开(公告)日
2017-09-14
当前申请(专利权)人
ゼネラル·エレクトリック·カンパニイ
发明人
ベンドール,クラーク·アレクサンダー | ウォード,トーマス·チャールズ | スタンカート,メリッサ·ローズ
简单同族
CN106416225A | CN106416225B | DE112015002570T5 | JP2017527137A | JP6681844B2 | US10291850 | US20150348253A1 | US20170223273A1 | US20200021738A1 | US9633426 | WO2015183541A1
简单同族成员数量
11
简单同族被引用专利总数
21
诉讼案件数
0
法律状态/事件
授权
抱歉,您的浏览器不支持PDF预览,请点击链接下载PDF文件