专利数据库
统计分析
产业报告
专利数据监控
产业人才
行业动态
产业政策法规
维权援助
个人中心
详情
文本
图像
标题
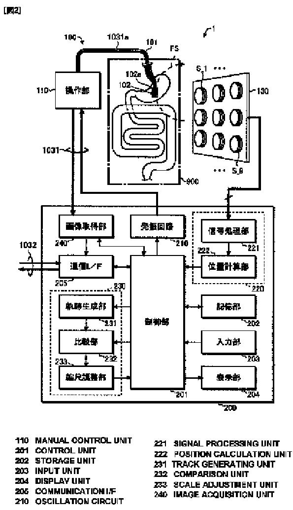
被検体内検査システム
授权日
1900-01-01
公开(公告)号
JPWO2010122823A1
申请日
2010-01-14
公开(公告)日
2012-10-25
当前申请(专利权)人
オリンパスメディカルシステムズ株式会社
发明人
木村 敦志 | 瀧澤 寛伸 | 佐藤 良次
简单同族
CN102405010A | CN102405010B | EP2422684A1 | EP2422684A4 | JP4810622B2 | JPWO2010122823A1 | US20110224490A1 | US8298136 | WO2010122823A1
简单同族成员数量
9
简单同族被引用专利总数
39
诉讼案件数
0
法律状态/事件
授权 | 权利转移
抱歉,您的浏览器不支持PDF预览,请点击链接下载PDF文件