专利数据库
统计分析
产业报告
专利数据监控
产业人才
行业动态
产业政策法规
维权援助
个人中心
详情
文本
图像
标题
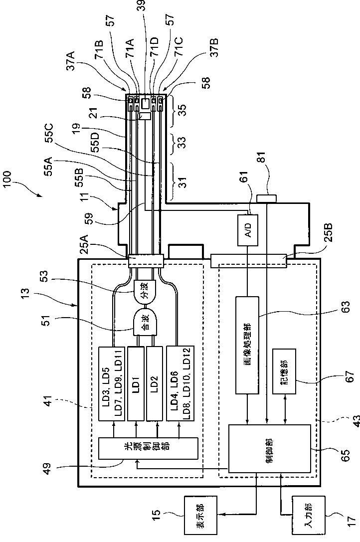
医療機器及び内視鏡装置
授权日
1900-01-01
公开(公告)号
JP2011147757A
申请日
2010-06-29
公开(公告)日
2011-08-04
当前申请(专利权)人
富士フイルム株式会社
发明人
水由 明 | 加賀屋 寛人 | 鳥居 雄一 | 飯田 孝之
简单同族
EP2301418A1 | JP2011147757A | US20110077465A1
简单同族成员数量
3
简单同族被引用专利总数
71
诉讼案件数
0
法律状态/事件
放弃
抱歉,您的浏览器不支持PDF预览,请点击链接下载PDF文件