专利数据库
统计分析
产业报告
专利数据监控
产业人才
行业动态
产业政策法规
维权援助
个人中心
详情
文本
图像
标题
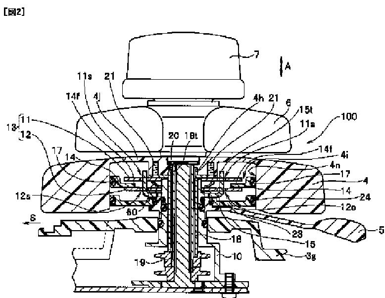
内視鏡の湾曲操作装置、内視鏡
授权日
1900-01-01
公开(公告)号
JPWO2012070321A1
申请日
2011-10-06
公开(公告)日
2014-05-19
当前申请(专利权)人
オリンパスメディカルシステムズ株式会社
发明人
星野 勇気
简单同族
CN103153156A | CN103153156B | EP2606811A1 | EP2606811A4 | EP2606811B1 | JP5245010B2 | JPWO2012070321A1 | US20120277535A1 | US8591405 | WO2012070321A1
简单同族成员数量
10
简单同族被引用专利总数
42
诉讼案件数
0
法律状态/事件
授权 | 权利转移
抱歉,您的浏览器不支持PDF预览,请点击链接下载PDF文件