专利数据库
统计分析
产业报告
专利数据监控
产业人才
行业动态
产业政策法规
维权援助
个人中心
详情
文本
图像
标题
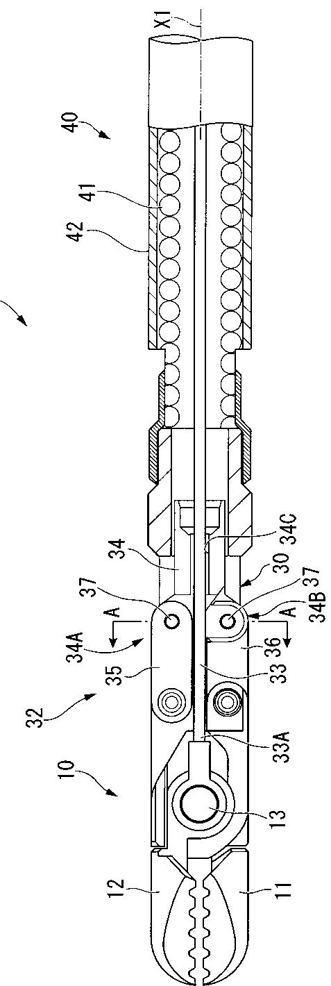
内視鏡用処置具
授权日
2011-12-22
公开(公告)号
JP4889827B2
申请日
2010-08-04
公开(公告)日
2012-03-07
当前申请(专利权)人
オリンパスメディカルシステムズ株式会社
发明人
木村 惠 | 鈴木 啓太
简单同族
CN102470002A | CN102470002B | EP2478854A1 | EP2478854A4 | EP2478854B1 | EP2478854B8 | JP4889827B2 | JPWO2011033874A1 | US20120029507A1 | US8551086 | WO2011033874A1
简单同族成员数量
11
简单同族被引用专利总数
81
诉讼案件数
0
法律状态/事件
授权 | 权利转移
抱歉,您的浏览器不支持PDF预览,请点击链接下载PDF文件