专利数据库
统计分析
产业报告
专利数据监控
产业人才
行业动态
产业政策法规
维权援助
个人中心
详情
文本
图像
标题
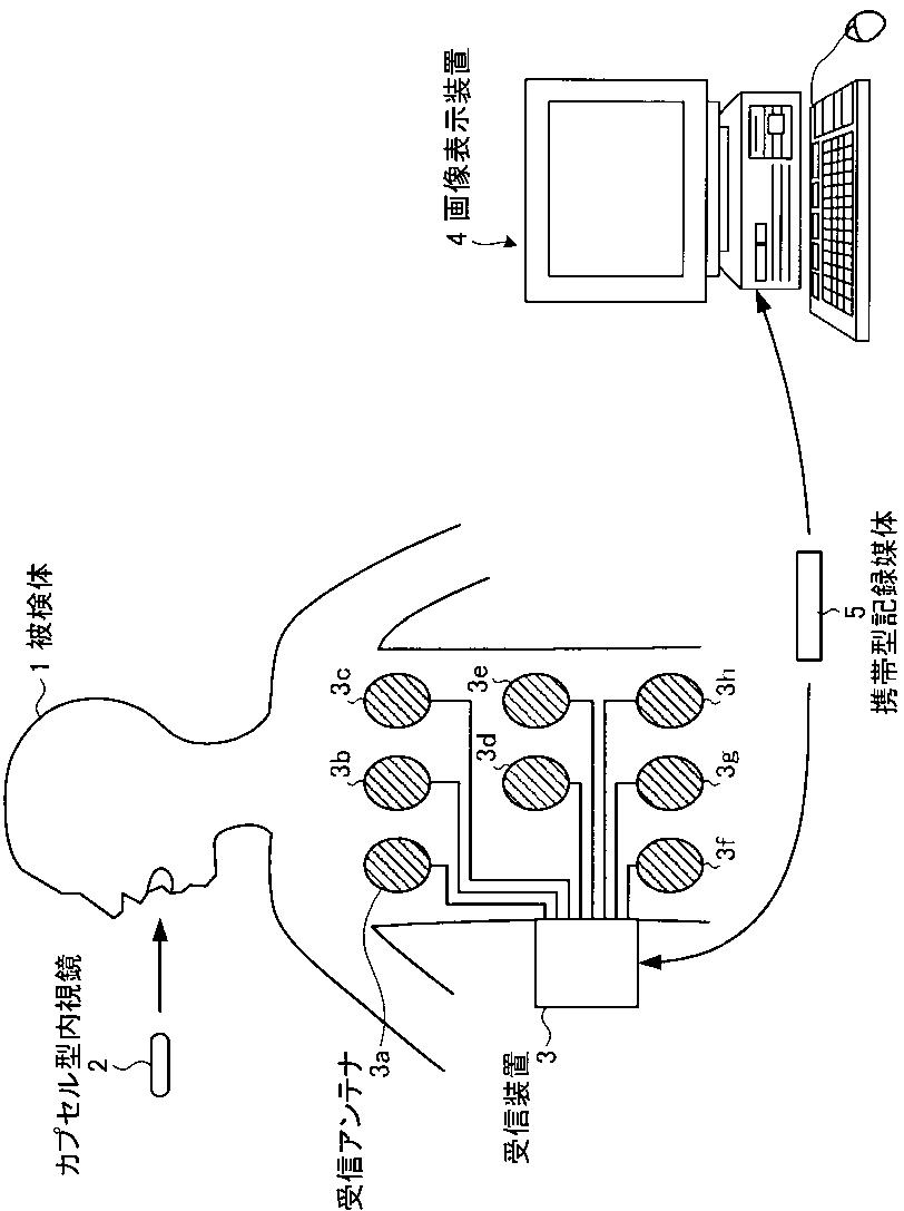
カプセル型内視鏡装置
授权日
2011-11-04
公开(公告)号
JP4857393B2
申请日
2010-06-10
公开(公告)日
2012-01-18
当前申请(专利权)人
オリンパスメディカルシステムズ株式会社 | オリンパス株式会社
发明人
内山 昭夫 | 薬袋 哲夫 | 田中 慎介 | 菅 武志 | 折原 達也 | 田村 和昭
简单同族
CN102458215A | CN102458215B | EP2441374A1 | EP2441374A4 | EP2441374B1 | JP4857393B2 | JPWO2010143692A1 | US20110273548A1 | US8390679 | WO2010143692A1
简单同族成员数量
10
简单同族被引用专利总数
58
诉讼案件数
0
法律状态/事件
授权 | 权利转移
抱歉,您的浏览器不支持PDF预览,请点击链接下载PDF文件