专利数据库
统计分析
产业报告
专利数据监控
产业人才
行业动态
产业政策法规
维权援助
个人中心
详情
文本
图像
标题
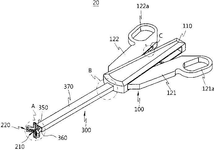
止血クリップ及びこれを用いる止血クリップ操作装置
授权日
1900-01-01
公开(公告)号
JP2011056242A
申请日
2010-02-24
公开(公告)日
2011-03-24
当前申请(专利权)人
国立がんセンター
发明人
チョ ソンヨン | パク サンエ | キム ソンホン | ハン スンシ | キム ヨンキュ | キム クァンギ | キム ヒュンテ | キム ヒュンホ
简单同族
CN102018547A | EP2294990A2 | EP2294990A3 | JP2011056242A | JP5138715B2 | KR101075531B1 | KR1020110028721A | US20110066163A1
简单同族成员数量
8
简单同族被引用专利总数
57
诉讼案件数
0
法律状态/事件
授权
抱歉,您的浏览器不支持PDF预览,请点击链接下载PDF文件