专利数据库
统计分析
产业报告
专利数据监控
产业人才
行业动态
产业政策法规
维权援助
个人中心
详情
文本
图像
标题
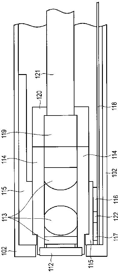
鏡枠ユニット、及び鏡枠ユニットを備えた内視鏡
授权日
1900-01-01
公开(公告)号
JP2013081656A
申请日
2011-10-11
公开(公告)日
2013-05-09
当前申请(专利权)人
オリンパス株式会社
发明人
杉山 勇太
简单同族
CN103874450A | CN103874450B | EP2767213A1 | EP2767213A4 | EP2767213B1 | JP2013081656A | JP5800665B2 | US20140221743A1 | US9532707 | WO2013054819A1
简单同族成员数量
10
简单同族被引用专利总数
29
诉讼案件数
0
法律状态/事件
授权 | 权利转移
抱歉,您的浏览器不支持PDF预览,请点击链接下载PDF文件