专利数据库
统计分析
产业报告
专利数据监控
产业人才
行业动态
产业政策法规
维权援助
个人中心
详情
文本
图像
标题
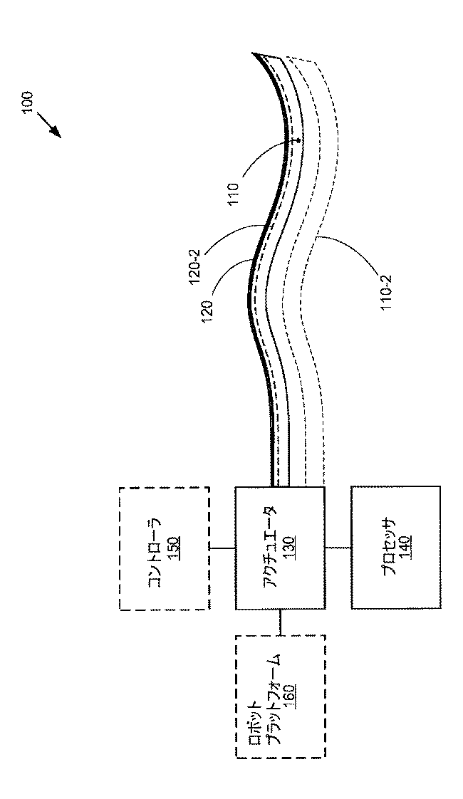
埋め込み型形状感知機能を有する操縦可能な可撓性針
授权日
1900-01-01
公开(公告)号
JP2017225866A
申请日
2017-10-04
公开(公告)日
2017-12-28
当前申请(专利权)人
インテュイティブ サージカル オペレーションズ, インコーポレイテッド
发明人
ドゥインダム,ヴィンセント | プリスコ,ギュセッペ,マリア | ラーキン,デイヴィッド,キュー | ディアミオ,サイモン | パネスク,ドリン
简单同族
EP2809249A1 | EP2809249A4 | EP2809249B1 | EP3488803A1 | JP2015505507A | JP2015505507A5 | JP2017225866A | JP6290099B2 | US10638953 | US20130204124A1 | US20170014194A1 | US9636040 | WO2013116140A1
简单同族成员数量
13
简单同族被引用专利总数
77
诉讼案件数
0
法律状态/事件
驳回
抱歉,您的浏览器不支持PDF预览,请点击链接下载PDF文件