专利数据库
统计分析
产业报告
专利数据监控
产业人才
行业动态
产业政策法规
维权援助
个人中心
详情
文本
图像
标题
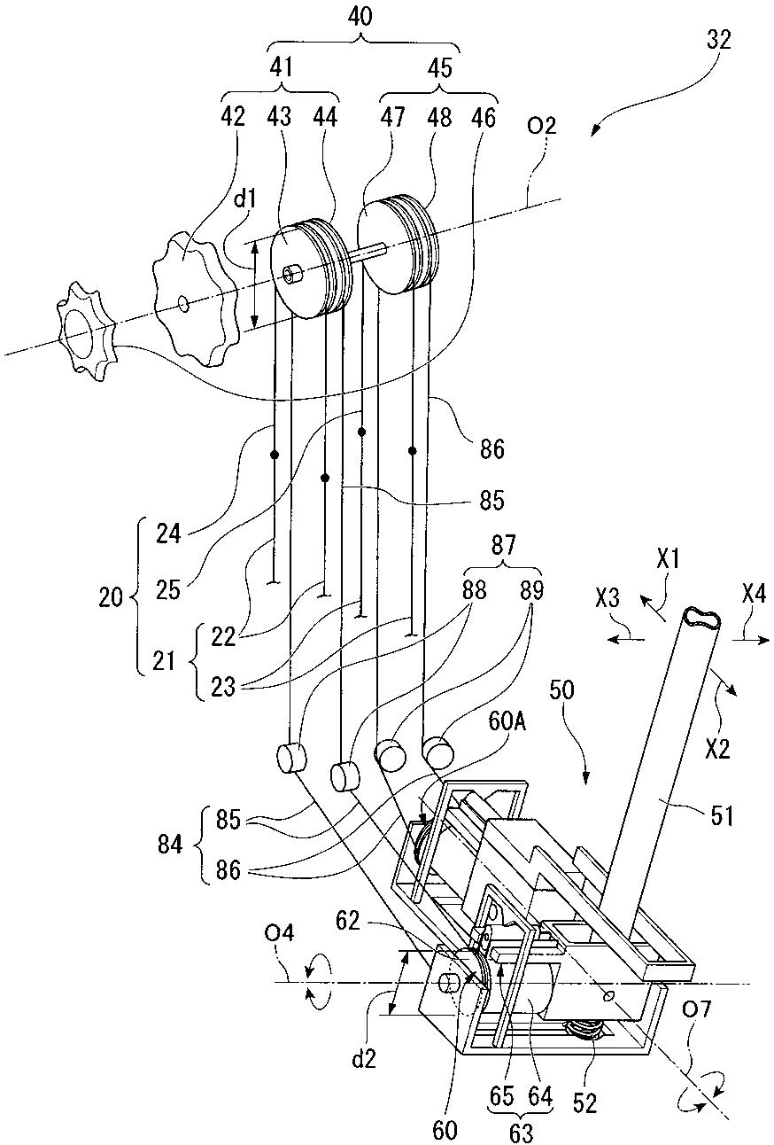
内視鏡装置
授权日
2012-08-31
公开(公告)号
JP5073855B2
申请日
2011-04-28
公开(公告)日
2012-11-14
当前申请(专利权)人
オリンパスメディカルシステムズ株式会社
发明人
竹本 昌太郎
简单同族
CN102858223A | CN102858223B | EP2532297A1 | EP2532297A4 | EP2532297B1 | JP5073855B2 | JPWO2011136366A1 | US20120302949A1 | US8784299 | WO2011136366A1
简单同族成员数量
10
简单同族被引用专利总数
23
诉讼案件数
0
法律状态/事件
授权 | 权利转移
抱歉,您的浏览器不支持PDF预览,请点击链接下载PDF文件