专利数据库
统计分析
产业报告
专利数据监控
产业人才
行业动态
产业政策法规
维权援助
个人中心
详情
文本
图像
标题
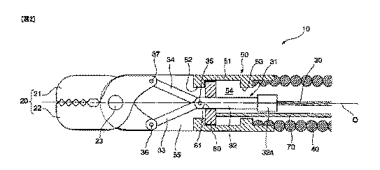
内視鏡用鉗子
授权日
1900-01-01
公开(公告)号
JPWO2012002091A1
申请日
2011-05-31
公开(公告)日
2013-08-22
当前申请(专利权)人
オリンパスメディカルシステムズ株式会社
发明人
鈴木 啓太
简单同族
CN102711634A | CN102711634B | EP2474273A1 | EP2474273A4 | EP2474273B1 | JP4965005B2 | JPWO2012002091A1 | US20120158043A1 | US8449570 | WO2012002091A1
简单同族成员数量
10
简单同族被引用专利总数
21
诉讼案件数
0
法律状态/事件
授权 | 权利转移
抱歉,您的浏览器不支持PDF预览,请点击链接下载PDF文件