专利数据库
统计分析
产业报告
专利数据监控
产业人才
行业动态
产业政策法规
维权援助
个人中心
详情
文本
图像
标题
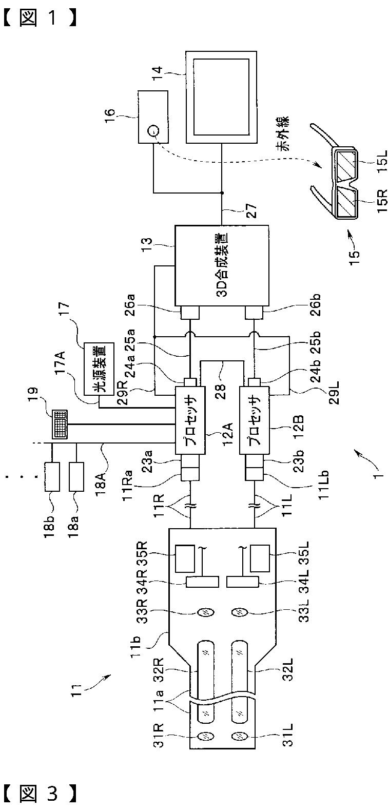
内視鏡システム
授权日
2013-08-02
公开(公告)号
JP5331948B2
申请日
2012-08-09
公开(公告)日
2013-10-30
当前申请(专利权)人
オリンパスメディカルシステムズ株式会社
发明人
浦崎 剛 | 大島 龍 | 玉井 宏
简单同族
CN103458767A | CN103458767B | EP2674099A1 | EP2674099A4 | EP2674099B1 | JP5331948B2 | JPWO2013031512A1 | US20130300829A1 | US8817077 | WO2013031512A1
简单同族成员数量
10
简单同族被引用专利总数
34
诉讼案件数
0
法律状态/事件
授权 | 权利转移
抱歉,您的浏览器不支持PDF预览,请点击链接下载PDF文件