专利数据库
统计分析
产业报告
专利数据监控
产业人才
行业动态
产业政策法规
维权援助
个人中心
详情
文本
图像
标题
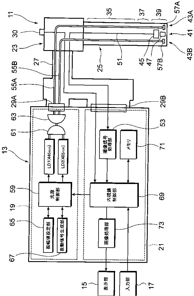
照明装置及びこれを備えた内視鏡装置
授权日
1900-01-01
公开(公告)号
JP2012105784A
申请日
2010-11-16
公开(公告)日
2012-06-07
当前申请(专利权)人
富士フイルム株式会社
发明人
瀬戸 康宏
简单同族
CN102573212A | CN102573212B | EP2452611A1 | EP2452611B1 | EP3146891A1 | JP2012105784A | JP5431294B2 | US20120123213A1 | US9066677
简单同族成员数量
9
简单同族被引用专利总数
67
诉讼案件数
0
法律状态/事件
授权
抱歉,您的浏览器不支持PDF预览,请点击链接下载PDF文件