专利数据库
统计分析
产业报告
专利数据监控
产业人才
行业动态
产业政策法规
维权援助
个人中心
详情
文本
图像
标题
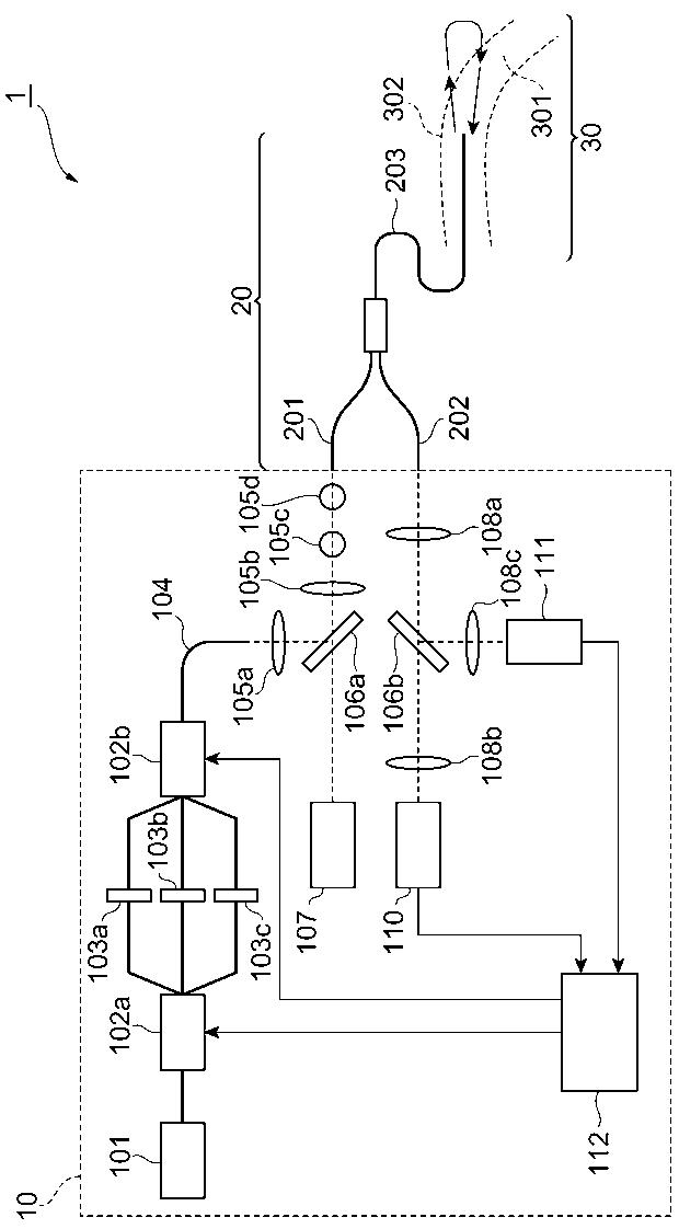
内視鏡装置
授权日
1900-01-01
公开(公告)号
JP2012179232A
申请日
2011-03-01
公开(公告)日
2012-09-20
当前申请(专利权)人
住友電気工業株式会社
发明人
長谷川 健美
简单同族
JP2012179232A
简单同族成员数量
1
简单同族被引用专利总数
0
诉讼案件数
0
法律状态/事件
撤回
抱歉,您的浏览器不支持PDF预览,请点击链接下载PDF文件