专利数据库
统计分析
产业报告
专利数据监控
产业人才
行业动态
产业政策法规
维权援助
个人中心
详情
文本
图像
标题
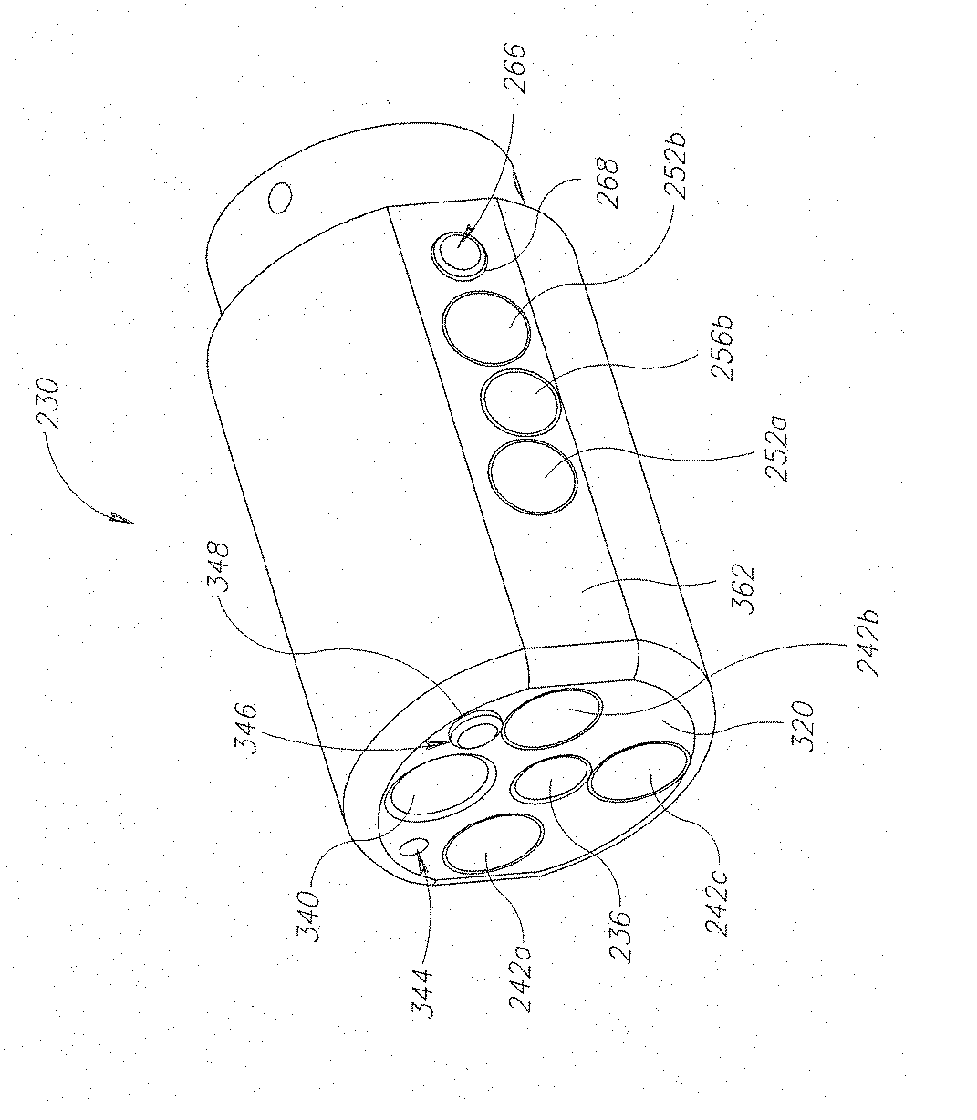
マルチカメラ内視鏡用フレキシブル電子回路基板
授权日
1900-01-01
公开(公告)号
JP2017094098A
申请日
2016-12-01
公开(公告)日
2017-06-01
当前申请(专利权)人
エンドチョイス イノベーション センター リミテッド
发明人
キルマ,ヤニヴ | レヴィ,モシェ | アイゼンフェルド,アムラム
简单同族
CN103348470A | CN103348470B | CN107361721A | CN107361721B | EP2649648A1 | EP2649648A4 | EP3522215A1 | JP2013544617A | JP2013544617A5 | JP2017094098A | JP2018192280A | JP6054874B2 | JP6381616B2 | US20130271588A1 | US20180028053A1 | US9814374 | WO2012077116A1
简单同族成员数量
17
简单同族被引用专利总数
129
诉讼案件数
0
法律状态/事件
授权
抱歉,您的浏览器不支持PDF预览,请点击链接下载PDF文件