专利数据库
统计分析
产业报告
专利数据监控
产业人才
行业动态
产业政策法规
维权援助
个人中心
详情
文本
图像
标题
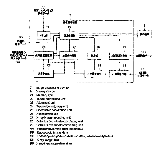
内視鏡システム
授权日
1900-01-01
公开(公告)号
JPWO2013132880A1
申请日
2013-01-11
公开(公告)日
2015-07-30
当前申请(专利权)人
オリンパスメディカルシステムズ株式会社
发明人
生熊 聡一 | 大西 順一
简单同族
CN103561628A | CN103561628B | EP2700351A1 | EP2700351A4 | JP5378628B1 | JPWO2013132880A1 | US20140088357A1 | US8894566 | WO2013132880A1
简单同族成员数量
9
简单同族被引用专利总数
22
诉讼案件数
0
法律状态/事件
授权 | 权利转移
抱歉,您的浏览器不支持PDF预览,请点击链接下载PDF文件