专利数据库
统计分析
产业报告
专利数据监控
产业人才
行业动态
产业政策法规
维权援助
个人中心
详情
文本
图像
标题
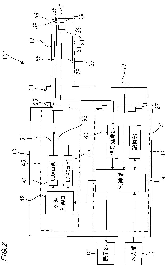
内視鏡装置
授权日
1900-01-01
公开(公告)号
JP2013042854A
申请日
2011-08-23
公开(公告)日
2013-03-04
当前申请(专利权)人
富士フイルム株式会社
发明人
水由 明 | 斎藤 牧 | 飯田 孝之
简单同族
EP2561798A1 | JP2013042854A | JP5709691B2 | US20130053642A1 | US8876706
简单同族成员数量
5
简单同族被引用专利总数
32
诉讼案件数
0
法律状态/事件
授权
抱歉,您的浏览器不支持PDF预览,请点击链接下载PDF文件