专利数据库
统计分析
产业报告
专利数据监控
产业人才
行业动态
产业政策法规
维权援助
个人中心
详情
文本
图像
标题
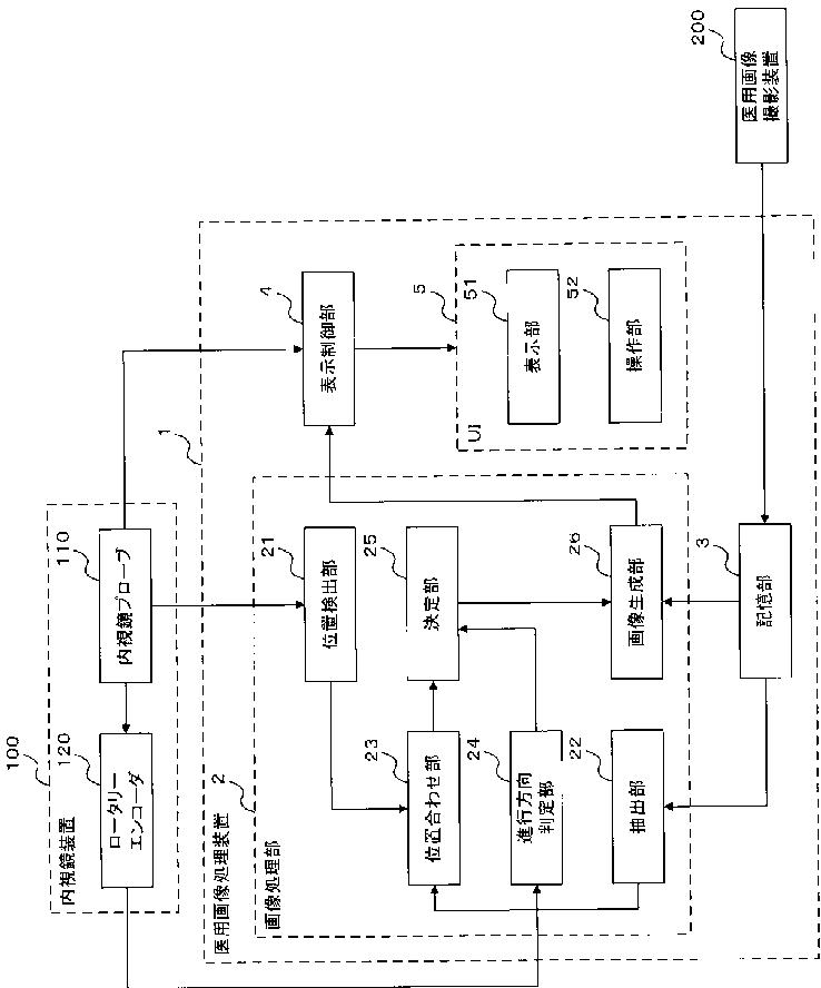
医用画像処理装置、及び医用画像処理プログラム
授权日
1900-01-01
公开(公告)号
JP2011139797A
申请日
2010-01-07
公开(公告)日
2011-07-21
当前申请(专利权)人
株式会社東芝 | 東芝メディカルシステムズ株式会社
发明人
青柳 康太 | 山形 仁
简单同族
CN102119848A | CN102119848B | JP2011139797A | JP5457841B2 | US20110166418A1 | US9078568
简单同族成员数量
6
简单同族被引用专利总数
30
诉讼案件数
0
法律状态/事件
未缴年费
抱歉,您的浏览器不支持PDF预览,请点击链接下载PDF文件