专利数据库
统计分析
产业报告
专利数据监控
产业人才
行业动态
产业政策法规
维权援助
个人中心
详情
文本
图像
标题
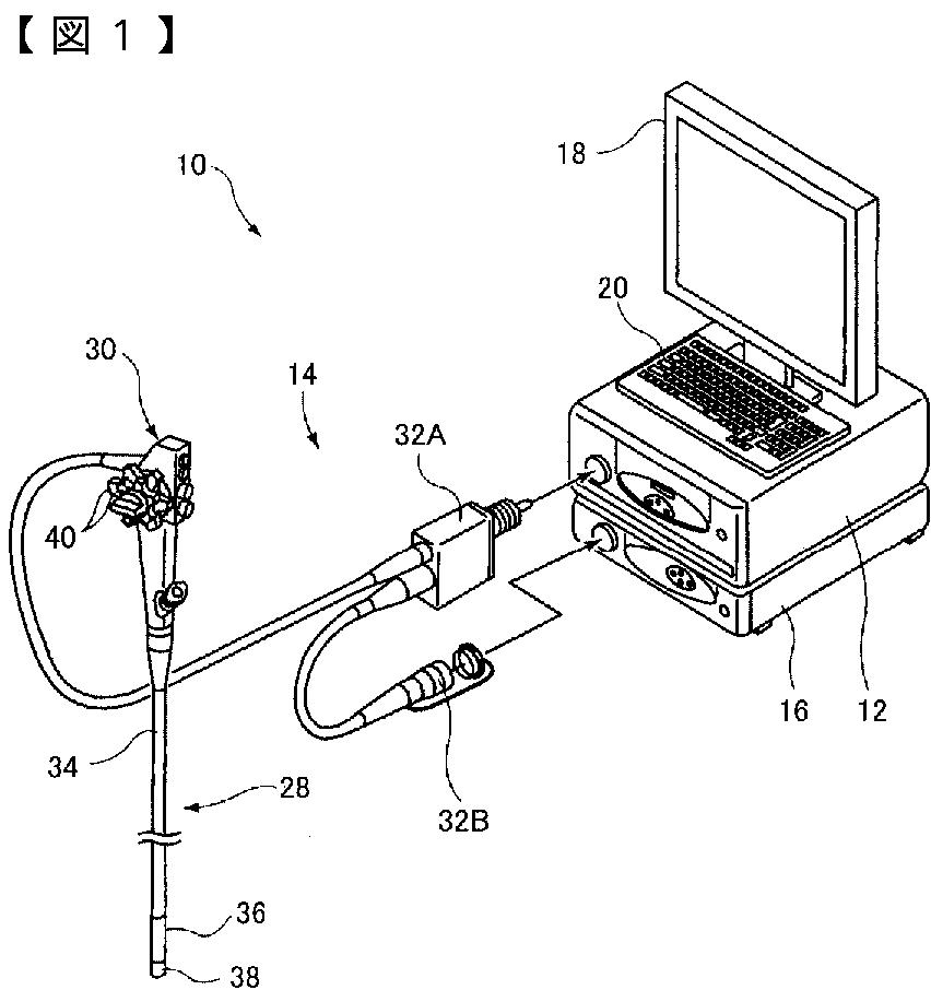
内視鏡診断装置
授权日
2013-06-28
公开(公告)号
JP5303015B2
申请日
2011-08-29
公开(公告)日
2013-10-02
当前申请(专利权)人
富士フイルム株式会社
发明人
山本 拓明
简单同族
EP2564761A1 | JP2013046688A | JP5303015B2 | US20130053646A1 | US8915844
简单同族成员数量
5
简单同族被引用专利总数
40
诉讼案件数
0
法律状态/事件
授权
抱歉,您的浏览器不支持PDF预览,请点击链接下载PDF文件