专利数据库
统计分析
产业报告
专利数据监控
产业人才
行业动态
产业政策法规
维权援助
个人中心
详情
文本
图像
标题
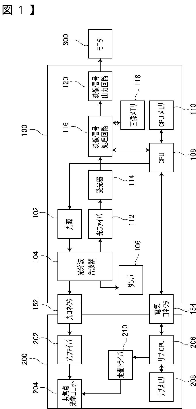
走査型共焦点内視鏡システム
授权日
2015-04-03
公开(公告)号
JP5721406B2
申请日
2010-11-24
公开(公告)日
2015-05-20
当前申请(专利权)人
HOYA株式会社
发明人
小林 将太郎
简单同族
AU2011333119A1 | AU2011333119B2 | CN103220961A | EP2644081A1 | JP2012110479A | JP2012110479A5 | JP5721406B2 | US20130242069A1 | WO2012070298A1
简单同族成员数量
9
简单同族被引用专利总数
56
诉讼案件数
0
法律状态/事件
授权 | 权利转移
抱歉,您的浏览器不支持PDF预览,请点击链接下载PDF文件