专利数据库
统计分析
产业报告
专利数据监控
产业人才
行业动态
产业政策法规
维权援助
个人中心
详情
文本
图像
标题
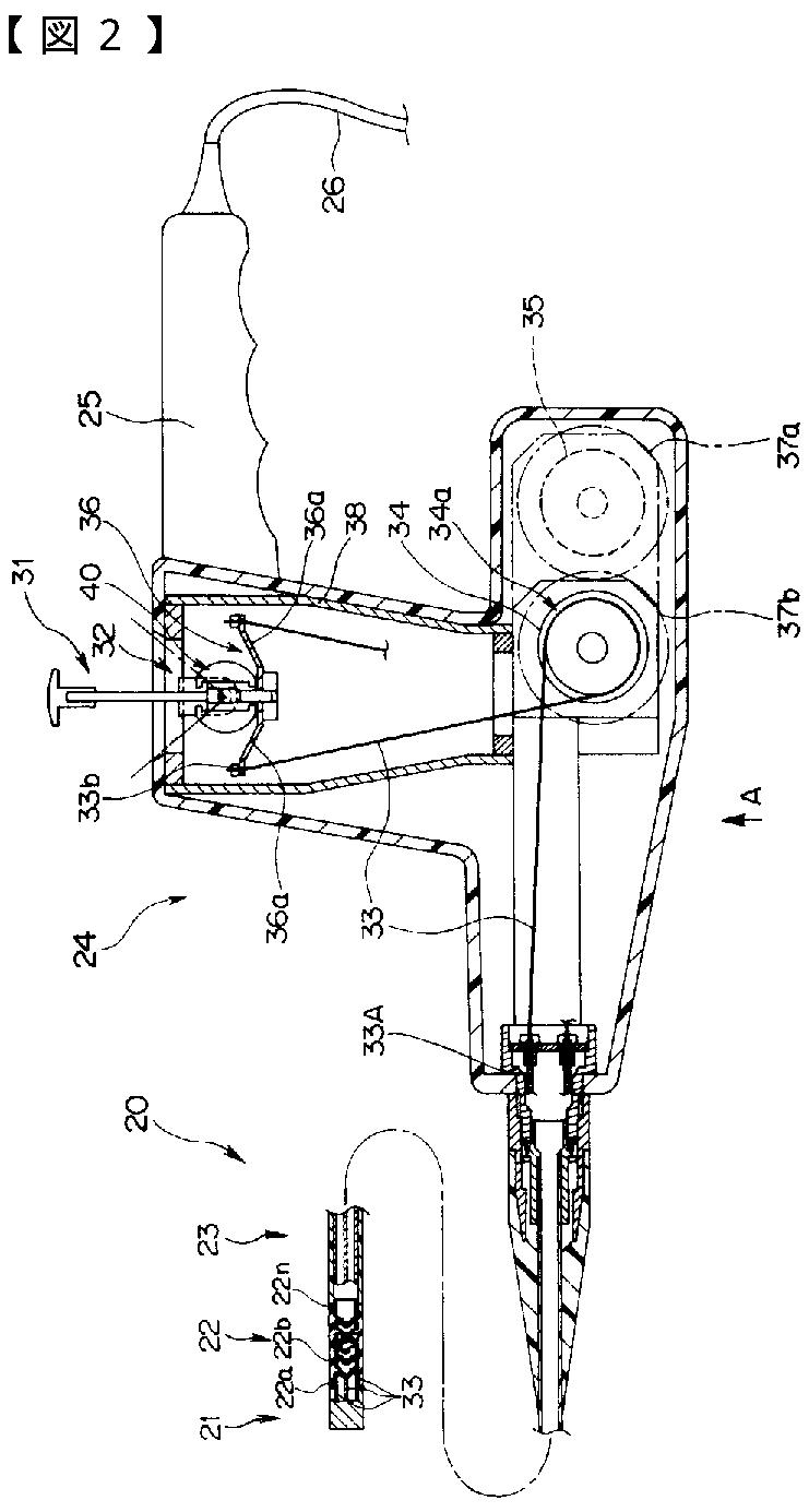
内視鏡
授权日
2010-07-30
公开(公告)号
JP4560585B2
申请日
2010-05-14
公开(公告)日
2010-10-13
当前申请(专利权)人
オリンパス株式会社
发明人
石神 崇和
简单同族
JP2010207598A | JP4560585B2
简单同族成员数量
2
简单同族被引用专利总数
22
诉讼案件数
0
法律状态/事件
授权 | 权利转移
抱歉,您的浏览器不支持PDF预览,请点击链接下载PDF文件