专利数据库
统计分析
产业报告
专利数据监控
产业人才
行业动态
产业政策法规
维权援助
个人中心
详情
文本
图像
标题
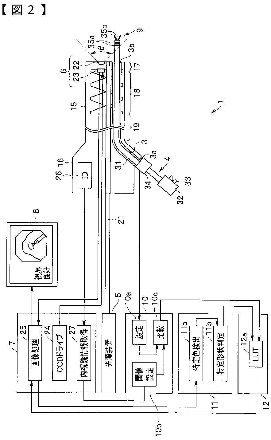
内視鏡システム及び視界不良判定システムの動作方法
授权日
2012-08-17
公开(公告)号
JP5065538B2
申请日
2011-08-17
公开(公告)日
2012-11-07
当前申请(专利权)人
オリンパスメディカルシステムズ株式会社
发明人
森山 宏樹 | 梅本 義孝
简单同族
CN102834043A | CN102834043B | EP2532299A1 | EP2532299A4 | EP2532299B1 | JP5065538B2 | JPWO2012035923A1 | US20120182409A1 | US8497898 | WO2012035923A1
简单同族成员数量
10
简单同族被引用专利总数
43
诉讼案件数
0
法律状态/事件
授权 | 权利转移
抱歉,您的浏览器不支持PDF预览,请点击链接下载PDF文件