专利数据库
统计分析
产业报告
专利数据监控
产业人才
行业动态
产业政策法规
维权援助
个人中心
详情
文本
图像
标题
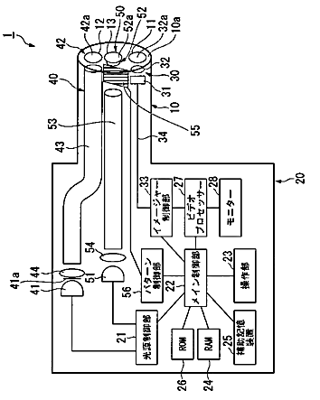
内視鏡装置および計測方法
授权日
1900-01-01
公开(公告)号
JP2012242364A
申请日
2011-05-24
公开(公告)日
2012-12-10
当前申请(专利权)人
オリンパス株式会社
发明人
横田 政義
简单同族
JP2012242364A | JP5830270B2 | US20140071239A1 | US9581802 | WO2012161244A1
简单同族成员数量
5
简单同族被引用专利总数
27
诉讼案件数
0
法律状态/事件
授权 | 权利转移
抱歉,您的浏览器不支持PDF预览,请点击链接下载PDF文件