专利数据库
统计分析
产业报告
专利数据监控
产业人才
行业动态
产业政策法规
维权援助
个人中心
详情
文本
图像
标题
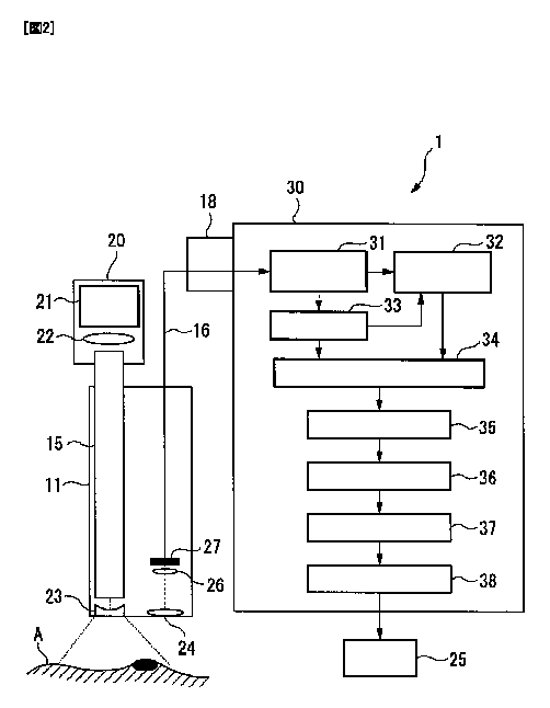
内視鏡装置
授权日
1900-01-01
公开(公告)号
JPWO2011118287A1
申请日
2011-02-16
公开(公告)日
2013-07-04
当前申请(专利权)人
オリンパス株式会社
发明人
志田 裕美
简单同族
CN102802498A | CN102802498B | EP2550909A1 | EP2550909A4 | JP5771598B2 | JPWO2011118287A1 | US20130002844A1 | WO2011118287A1
简单同族成员数量
8
简单同族被引用专利总数
36
诉讼案件数
0
法律状态/事件
授权 | 权利转移
抱歉,您的浏览器不支持PDF预览,请点击链接下载PDF文件