专利数据库
统计分析
产业报告
专利数据监控
产业人才
行业动态
产业政策法规
维权援助
个人中心
详情
文本
图像
标题
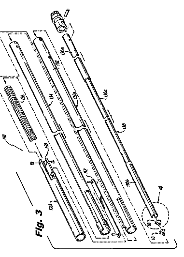
内視鏡手技のための装置のための関節接合部
授权日
1900-01-01
公开(公告)号
JP2014176657A
申请日
2014-03-12
公开(公告)日
2014-09-25
当前申请(专利权)人
コヴィディエン リミテッド パートナーシップ
发明人
グレゴリー フィッシュボット | ケビン スニフィン | ジェイ ブレインデル | マーク ルッソ
简单同族
AU2014200870A1 | AU2014200870B2 | CA2845046A1 | CN104042283A | CN104042283B | EP2777517A1 | EP2777517B1 | JP2014176657A | JP6395402B2 | US20140276967A1 | US20180116670A1 | US9867620
简单同族成员数量
12
简单同族被引用专利总数
115
诉讼案件数
0
法律状态/事件
授权
抱歉,您的浏览器不支持PDF预览,请点击链接下载PDF文件