专利数据库
统计分析
产业报告
专利数据监控
产业人才
行业动态
产业政策法规
维权援助
个人中心
详情
文本
图像
标题
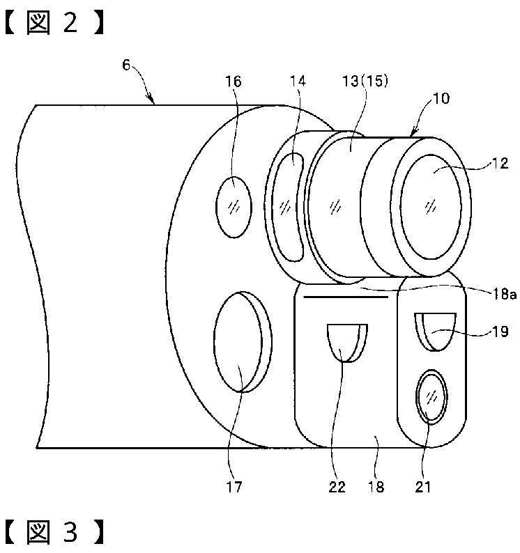
内視鏡システム
授权日
2011-12-16
公开(公告)号
JP4884567B2
申请日
2010-10-13
公开(公告)日
2012-02-29
当前申请(专利权)人
オリンパスメディカルシステムズ株式会社
发明人
加瀬 聖悟 | 倉 康人 | 坂本 雄次
简单同族
CN102469930A | CN102469930B | EP2497406A1 | EP2497406A4 | EP2497406B1 | EP2497406B9 | JP4884567B2 | JPWO2011055614A1 | US20110275889A1 | US8419630 | WO2011055614A1
简单同族成员数量
11
简单同族被引用专利总数
68
诉讼案件数
0
法律状态/事件
授权 | 权利转移
抱歉,您的浏览器不支持PDF预览,请点击链接下载PDF文件