专利数据库
统计分析
产业报告
专利数据监控
产业人才
行业动态
产业政策法规
维权援助
个人中心
详情
文本
图像
标题
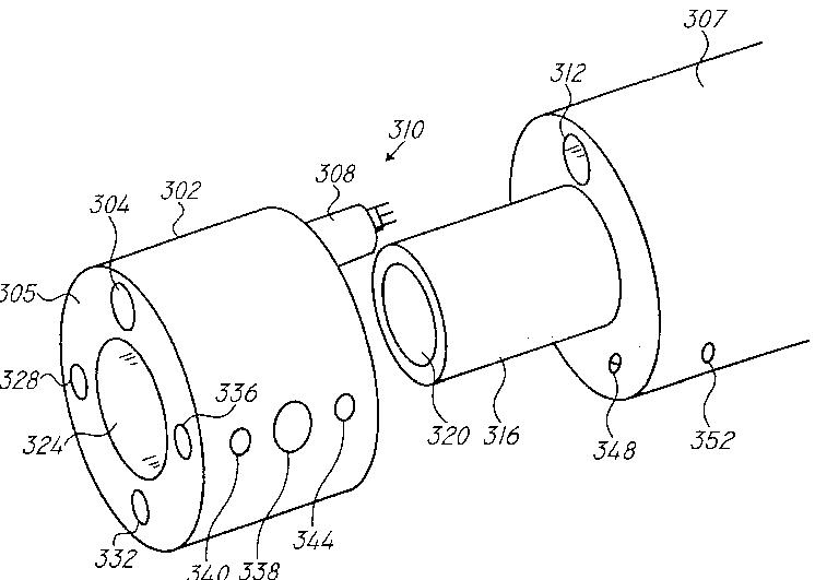
取り外し可能な先端を有する内視鏡
授权日
1900-01-01
公开(公告)号
JP2013123647A
申请日
2012-12-13
公开(公告)日
2013-06-24
当前申请(专利权)人
エンドチョイス イノベーション センター リミテッド
发明人
レヴィ,アヴィ | レヴィ,モシェ | アイゼンフェルド,アムラム
简单同族
CA2798716A1 | EP2604175A1 | EP2604175B1 | EP3659491A1 | JP2013123647A | JP2013123647A5 | JP6197232B2 | US10470649 | US20130172670A1 | US20170280975A1 | US20200069162A1 | US9655502
简单同族成员数量
12
简单同族被引用专利总数
116
诉讼案件数
0
法律状态/事件
授权
抱歉,您的浏览器不支持PDF预览,请点击链接下载PDF文件