专利数据库
统计分析
产业报告
专利数据监控
产业人才
行业动态
产业政策法规
维权援助
个人中心
详情
文本
图像
标题
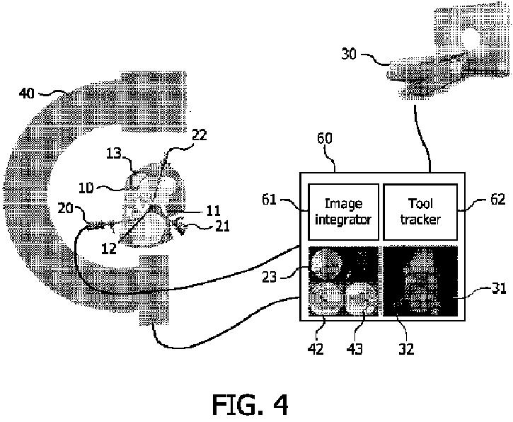
内視鏡手術のための画像積分ベースレジストレーション及びナビゲーション
授权日
1900-01-01
公开(公告)号
JP2013517031A
申请日
2010-12-06
公开(公告)日
2013-05-16
当前申请(专利权)人
コーニンクレッカ フィリップス エヌ ヴェ
发明人
ポポヴィック アレクサンドラ
简单同族
BR112012016973A2 | CN102711650A | CN102711650B | EP2523621A1 | EP2523621B1 | JP2013517031A | JP2013517031A5 | JP5795599B2 | RU2012134327A | RU2556593C2 | US20120294498A1 | US9095252 | WO2011086431A1
简单同族成员数量
13
简单同族被引用专利总数
120
诉讼案件数
0
法律状态/事件
授权
抱歉,您的浏览器不支持PDF预览,请点击链接下载PDF文件