专利数据库
统计分析
产业报告
专利数据监控
产业人才
行业动态
产业政策法规
维权援助
个人中心
详情
文本
图像
标题
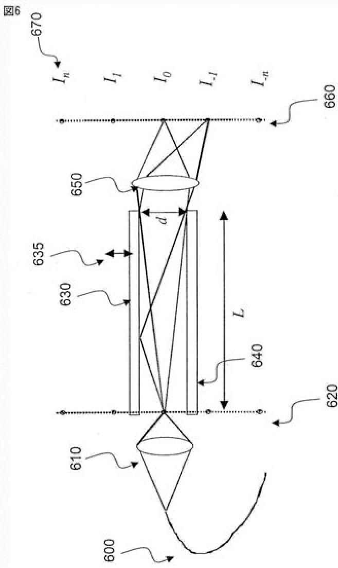
サンプル上の複数の地点を同時に照射し検出することによって光学画像生成を実行する構成、装置、内視鏡、カテーテル、及び方法
授权日
1900-01-01
公开(公告)号
JP2014036893A
申请日
2013-11-14
公开(公告)日
2014-02-27
当前申请(专利权)人
ザ ジェネラル ホスピタル コーポレイション
发明人
テアニー,ギエルモ ジェイ. | デブール,ヨハネス エフ. | ボウマ,ブレット ユージーン
简单同族
EP1816949A1 | JP2008521516A | JP2008521516A5 | JP2014036893A | JP2014237042A | US20060114473A1 | US20150116726A1 | US8922781 | WO2006058346A1
简单同族成员数量
9
简单同族被引用专利总数
49
诉讼案件数
0
法律状态/事件
驳回
抱歉,您的浏览器不支持PDF预览,请点击链接下载PDF文件