专利数据库
统计分析
产业报告
专利数据监控
产业人才
行业动态
产业政策法规
维权援助
个人中心
详情
文本
图像
标题
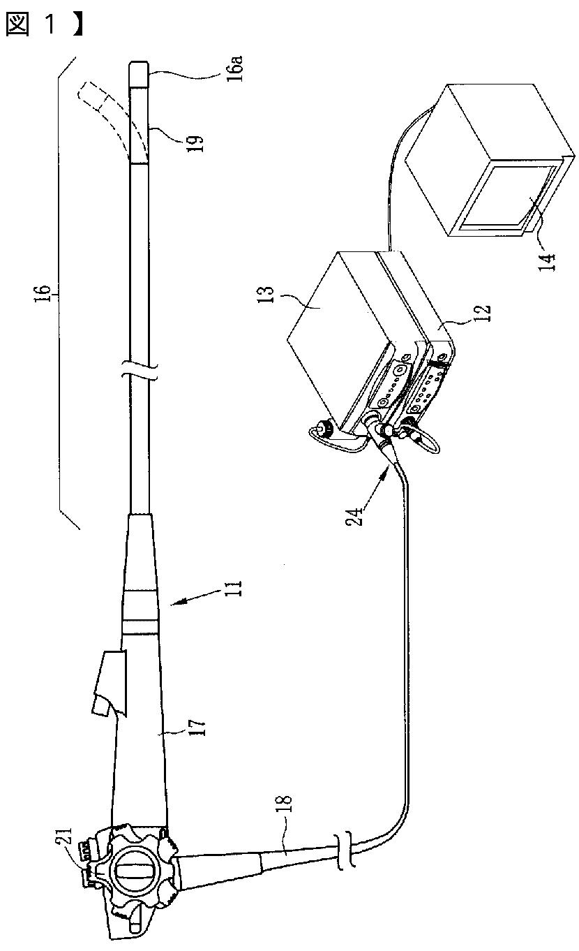
電子内視鏡システム、電子内視鏡用のプロセッサ装置、電子内視鏡システムの作動方法、病理観察装置および病理顕微鏡装置
授权日
2014-01-10
公开(公告)号
JP5452300B2
申请日
2010-03-19
公开(公告)日
2014-03-26
当前申请(专利权)人
富士フイルム株式会社
发明人
齋藤 孝明
简单同族
CN102188226A | CN102188226B | EP2366327A2 | EP2366327A3 | EP2366327B1 | EP2366327B8 | JP2011194028A | JP5452300B2 | US20110230715A1 | US8657737
简单同族成员数量
10
简单同族被引用专利总数
55
诉讼案件数
0
法律状态/事件
授权
抱歉,您的浏览器不支持PDF预览,请点击链接下载PDF文件