专利数据库
统计分析
产业报告
专利数据监控
产业人才
行业动态
产业政策法规
维权援助
个人中心
详情
文本
图像
标题
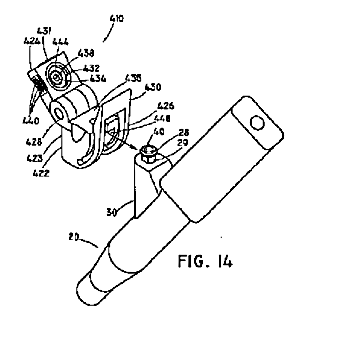
内視鏡用アダプタ
授权日
1900-01-01
公开(公告)号
JP2012525219A
申请日
2010-04-26
公开(公告)日
2012-10-22
当前申请(专利权)人
クック メディカル テクノロジーズ エルエルシー
发明人
マクグラス, ダラク
简单同族
AU2010241834A1 | AU2010241834B2 | CA2760419A1 | CA2760419C | EP2429373A1 | EP2429373B1 | JP2012525219A | JP2012525219A5 | JP5409898B2 | US20100280311A1 | US8460176 | WO2010126824A1
简单同族成员数量
12
简单同族被引用专利总数
30
诉讼案件数
0
法律状态/事件
授权
抱歉,您的浏览器不支持PDF预览,请点击链接下载PDF文件