专利数据库
统计分析
产业报告
专利数据监控
产业人才
行业动态
产业政策法规
维权援助
个人中心
详情
文本
图像
标题
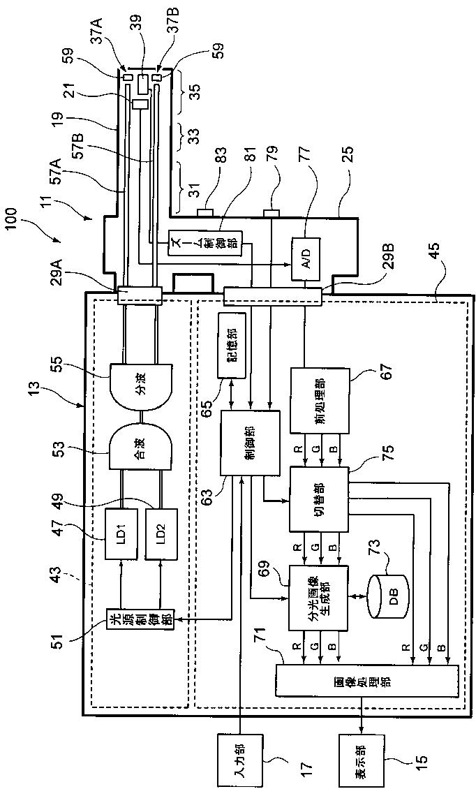
内視鏡装置
授权日
1900-01-01
公开(公告)号
JP2011206226A
申请日
2010-03-29
公开(公告)日
2011-10-20
当前申请(专利权)人
富士フイルム株式会社
发明人
小澤 聡 | 飯田 孝之 | 峯苫 靖浩 | 江利川 昭彦
简单同族
CN102204809A | CN102204809B | EP2371267A1 | JP2011206226A | JP5606120B2 | US20110237894A1 | US9232883
简单同族成员数量
7
简单同族被引用专利总数
34
诉讼案件数
0
法律状态/事件
授权
抱歉,您的浏览器不支持PDF预览,请点击链接下载PDF文件