专利数据库
统计分析
产业报告
专利数据监控
产业人才
行业动态
产业政策法规
维权援助
个人中心
详情
文本
图像
标题
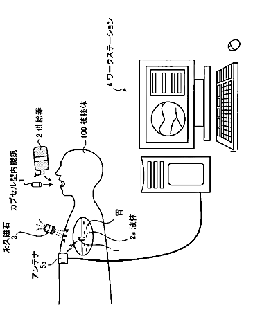
カプセル型内視鏡の誘導方法および磁界発生装置の動作方法
授权日
1900-01-01
公开(公告)号
JP2012071176A
申请日
2011-12-26
公开(公告)日
2012-04-12
当前申请(专利权)人
オリンパスメディカルシステムズ株式会社
发明人
河野 宏尚 | 瀧澤 寛伸 | 瀬川 英建 | 青木 勲 | 平川 克己 | 小林 聡美 | 伊藤 秀雄
简单同族
CN101351146A | CN101351146B | CN102793526A | CN102793526B | CN103462581A | CN103462581B | EP1969989A1 | EP1969989A4 | EP1969989B1 | EP2484272A2 | EP2484272A3 | JP2012071176A | JP2013075176A | JPWO2007077922A1 | JPWO2007077922A5 | KR101092867B1 | KR1020080075536A | US20070221233A1 | US20120265015A1 | US20140296634A1 | US8162821 | US8790247 | WO2007077922A1
简单同族成员数量
23
简单同族被引用专利总数
307
诉讼案件数
0
法律状态/事件
驳回
抱歉,您的浏览器不支持PDF预览,请点击链接下载PDF文件