专利数据库
统计分析
产业报告
专利数据监控
产业人才
行业动态
产业政策法规
维权援助
个人中心
详情
文本
图像
标题
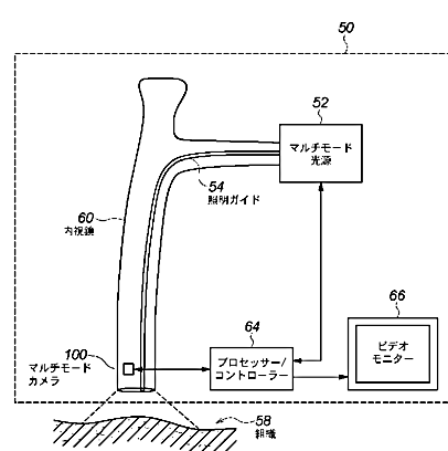
画像化内視鏡と共に使用するフィルター
授权日
1900-01-01
公开(公告)号
JP2014087661A
申请日
2013-11-28
公开(公告)日
2014-05-15
当前申请(专利权)人
ノバダック テクノロジーズ インコーポレイテッド
发明人
フェングラー, ジョン, ピー. | レガメ, フランシス
简单同族
EP1883337A1 | EP1883337A4 | JP2008539827A | JP2014087661A | US10182709 | US20060241496A1 | US20070015963A1 | US20140194687A1 | US20160270640A1 | US20190357757A1 | US8630698 | WO2006116847A1
简单同族成员数量
12
简单同族被引用专利总数
105
诉讼案件数
0
法律状态/事件
驳回
抱歉,您的浏览器不支持PDF预览,请点击链接下载PDF文件