专利数据库
统计分析
产业报告
专利数据监控
产业人才
行业动态
产业政策法规
维权援助
个人中心
详情
文本
图像
标题
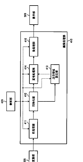
内視鏡装置
授权日
1900-01-01
公开(公告)号
JP2012245157A
申请日
2011-05-27
公开(公告)日
2012-12-13
当前申请(专利权)人
オリンパス株式会社
发明人
森田 恵仁 | 温 成剛 | 高橋 順平 | 栗山 直也 | 樋口 圭司
简单同族
CN103561629A | CN103561629B | EP2716206A1 | EP2716206A4 | JP2012245157A | JP2012245157A5 | JP5855358B2 | US20140046131A1 | US9486123 | WO2012165203A1
简单同族成员数量
10
简单同族被引用专利总数
68
诉讼案件数
0
法律状态/事件
授权 | 权利转移
抱歉,您的浏览器不支持PDF预览,请点击链接下载PDF文件