专利数据库
统计分析
产业报告
专利数据监控
产业人才
行业动态
产业政策法规
维权援助
个人中心
详情
文本
图像
标题
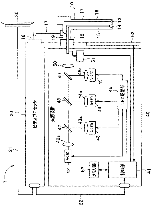
内視鏡装置
授权日
1900-01-01
公开(公告)号
JP2015231553A
申请日
2015-07-31
公开(公告)日
2015-12-24
当前申请(专利权)人
オリンパス株式会社
发明人
矢部 雄亮 | 高橋 智也 | 小笠原 弘太郎 | 田中 哲史 | 坂井 愛子
简单同族
CN105451634A | CN105451634B | EP2976989A1 | EP2976989A4 | JP2015231553A | JP5789348B2 | JP6138203B2 | JPWO2015005277A1 | US10085611 | US20160037999A1 | WO2015005277A1
简单同族成员数量
11
简单同族被引用专利总数
26
诉讼案件数
0
法律状态/事件
授权
抱歉,您的浏览器不支持PDF预览,请点击链接下载PDF文件