专利数据库
统计分析
产业报告
专利数据监控
产业人才
行业动态
产业政策法规
维权援助
个人中心
详情
文本
图像
标题
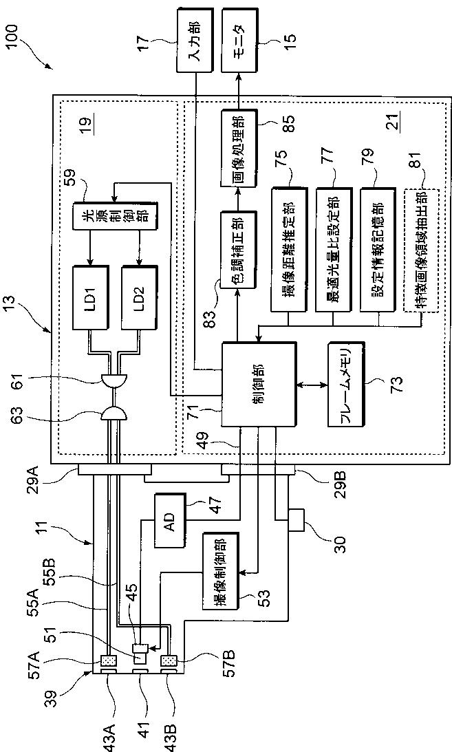
内視鏡装置
授权日
1900-01-01
公开(公告)号
JP2013034753A
申请日
2011-08-10
公开(公告)日
2013-02-21
当前申请(专利权)人
富士フイルム株式会社
发明人
飯田 孝之 | 加來 俊彦 | 山口 博司 | 齋藤 孝明
简单同族
EP2556790A1 | JP2013034753A | JP5450527B2 | US20130041218A1 | US20150216400A1 | US9675238
简单同族成员数量
6
简单同族被引用专利总数
39
诉讼案件数
0
法律状态/事件
授权
抱歉,您的浏览器不支持PDF预览,请点击链接下载PDF文件