专利数据库
统计分析
产业报告
专利数据监控
产业人才
行业动态
产业政策法规
维权援助
个人中心
详情
文本
图像
标题
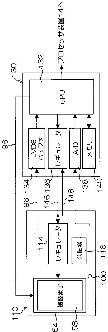
電子内視鏡装置及び電子内視鏡システム
授权日
1900-01-01
公开(公告)号
JP2013027418A
申请日
2011-07-26
公开(公告)日
2013-02-07
当前申请(专利权)人
富士フイルム株式会社
发明人
松丸 靖
简单同族
CN103006169A | CN103006169B | JP2013027418A | JP2013027418A5 | JP5272053B2 | US10231610 | US20130030248A1 | US20160278624A1
简单同族成员数量
8
简单同族被引用专利总数
45
诉讼案件数
0
法律状态/事件
授权
抱歉,您的浏览器不支持PDF预览,请点击链接下载PDF文件