专利数据库
统计分析
产业报告
专利数据监控
产业人才
行业动态
产业政策法规
维权援助
个人中心
详情
文本
图像
标题
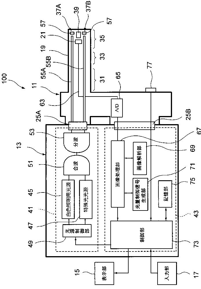
内視鏡装置の制御方法及び内視鏡装置
授权日
1900-01-01
公开(公告)号
JP2012029703A
申请日
2010-07-20
公开(公告)日
2012-02-16
当前申请(专利权)人
富士フイルム株式会社
发明人
小澤 聡 | 江利川 昭彦 | 遠藤 安土
简单同族
EP2301416A1 | EP2301416A8 | EP2301416B1 | JP2012029703A | JP2012029703A5 | JP5460507B2 | US20110071353A1 | US8936548
简单同族成员数量
8
简单同族被引用专利总数
39
诉讼案件数
0
法律状态/事件
授权
抱歉,您的浏览器不支持PDF预览,请点击链接下载PDF文件