专利数据库
统计分析
产业报告
专利数据监控
产业人才
行业动态
产业政策法规
维权援助
个人中心
详情
文本
图像
标题
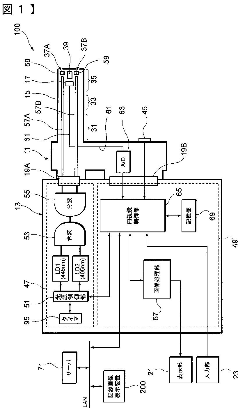
内視鏡画像表示装置
授权日
2014-08-29
公开(公告)号
JP5604248B2
申请日
2010-09-28
公开(公告)日
2014-10-08
当前申请(专利权)人
富士フイルム株式会社
发明人
佐々木 弥 | 三浦 悟朗 | 清水 邦政 | 三沢 充史 | 浅井 保宏
简单同族
JP2012070935A | JP5604248B2 | US20120078046A1 | US9066676
简单同族成员数量
4
简单同族被引用专利总数
44
诉讼案件数
0
法律状态/事件
授权
抱歉,您的浏览器不支持PDF预览,请点击链接下载PDF文件